
![]() |
||||||
|
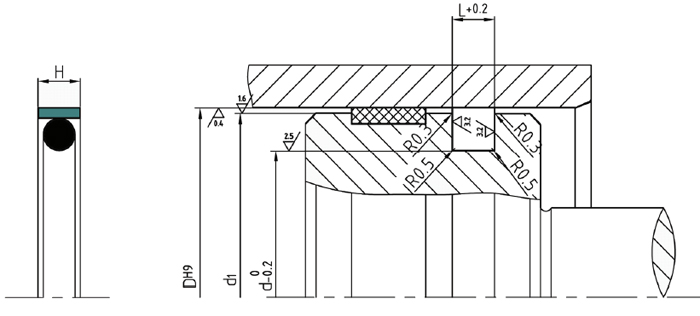
2. Standard Materials
Seal ring : Filled PTFE
O-Ring: NBR or FKM
![]()
3.Application Range
Standrad compact seal for wide application. Same properties with SPG. Design and apply please referring to NOK’s SPGO
4.Characterisstics
A combination of a based material slipper seal of PTFE with law coefficient of friction, no stick-slip behavior and high wear resistance. Due to its double sealing property,there is a save of installation space.
|
